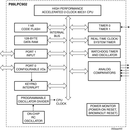
8-bit microcontrollers with two-clock 80C51 core 1 kB 3 V Flash with 128-byte RAM

  • このページには、製造中止(生産終了)となった製品の情報が記載されています。本ページに記載されている仕様および情報は、過去の参考情報です。

画像にカーソルを合わせると拡大表示されます。

購入/パラメータ










































































































ドキュメント

クイック・リファレンス ドキュメンテーションの種類

1-10 件/全 16 ドキュメント

コンパクトリスト

アプリケーション・ノート (7)
エラッタ (3)
サポート情報 (2)
データ・シート (1)
パッケージ情報 (1)
ユーザ・ガイド (1)

設計・リソース

デザイン・ファイル

クイック・リファレンス 設計・ファイルの種類.

1 設計・ファイル

サポート

お困りのことは何ですか??