Scalable Mainstream 32-bit Microcontroller (MCU) based on Arm® Cortex®-M3 Core

画像にカーソルを合わせると拡大表示されます。

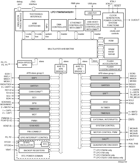
Features

  • Arm Cortex-M3 processor, running at frequencies of up to 100 MHz
  • Arm Cortex-M3 built-in Nested Vectored Interrupt Controller (NVIC)
  • Up to 32 kB on-chip flash programming memory
  • Up to 8 kB of SRAM
  • In-System Programming (ISP) and In-Application Programming (IAP)
  • Eight channel General Purpose DMA controller (GPDMA)
  • Multilayer AHB matrix interconnect provides a separate bus for each AHB leader
  • Split APB bus allows high throughput with few stalls between the CPU and DMA
  • USB 2.0 full-speed device controller
  • Four UARTs with fractional baud rate generation
  • CAN 2.0B controller with one channel
  • SPI controller with synchronous, serial, full duplex communication
  • Two SSP controllers with FIFO and multi-protocol capabilities
  • Two I2C-bus interfaces supporting fast mode with a data rate of 400 kbit/s
  • 52 General Purpose I/O (GPIO) pins with configurable pull-up/down resistors
  • 12-bit Analog-to-Digital Converter (ADC) with conversion rates up to 200 kHz
  • Four general purpose timers/counters
  • One motor control PWM with support for three-phase motor control
  • Quadrature encoder interface that can monitor one external quadrature encoder
  • One standard PWM/timer block with external count input
  • Real-Time Clock (RTC)
  • WatchDog Timer (WDT)
  • Arm Cortex-M3 system tick timer, including an external clock input option
  • Standard JTAG test/debug interface. Boundary scan Description Language (BSDL) is not available for this device
  • Integrated PMU (Power Management Unit)
  • Four reduced power modes
  • Single 3.3 V power supply (2.4 V to 3.6 V)
  • One external interrupt input configurable as edge/level sensitive
  • Non-maskable Interrupt (NMI) input
  • Wakeup Interrupt Controller (WIC)
  • Processor wake-up from Power-down mode via any interrupt
  • Brownout detect with separate threshold for interrupt and forced reset
  • Power-On Reset (POR)
  • Crystal oscillator with an operating range of 1 MHz to 25 MHz
  • 4 MHz internal RC oscillator trimmed to 1 % accuracy
  • PLL allows CPU operation up to the maximum CPU rate
  • USB PLL for added flexibility
  • Code Read Protection (CRP) with different security levels
  • Unique device serial number for identification purposes

Target Applications

  • eMetering
  • Lighting
  • Industrial networking
  • Alarm systems
  • White goods
  • Motor control

購入/パラメータ










































































































ドキュメント

クイック・リファレンス ドキュメンテーションの種類

1-10 件/全 34 ドキュメント

コンパクトリスト

アプリケーション・ノート (25)
エラッタ (1)
カタログ (2)
サポート情報 (2)
データ・シート (1)
パッケージ情報 (1)
ユーザ・ガイド (1)
レポートまたはプレゼンテーション (1)

デザイン・ファイル

クイック・リファレンス 設計・ファイルの種類.

2 設計・ファイル

ハードウェア

クイック・リファレンス ボードタイプ.

1-5 件/全 8 ハードウェア提供

全て表示

ソフトウェア

クイック・リファレンス ソフトウェア・タイプ.

1 ソフトウェア・ファイル

注: より快適にご利用いただくために、ソフトウェアのダウンロードはデスクトップで行うことを推奨します。

エンジニアリング・サービス

1-5 件/全 10 エンジニアリング・サービス

全て表示

この製品をサポートするその他のパートナー製品を見つけるには、当社の Web サイトにアクセスしてください パートナーマーケットプレイス.

トレーニング

9 トレーニング

全て表示