アプリケーション・ノート (11)
-
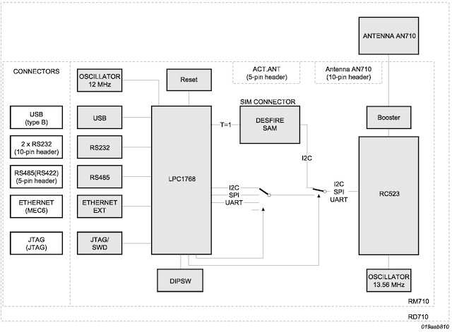
RM710 Hardware Design Guide[AN10991]
-
Quick Startup Guide for RD710[AN10992]
-
Pegoda Software Design Guide[AN10993]
-
Pegoda Amplifier[AN11003]
-
Pegoda Amplifier[AN11003]
-
Pegoda Toolchain Information[AN11002]
カタログ (1)
-
Fast, straightforward development of contactless reader applications[939775017350_V3]
データ・シート (1)
-
Pegoda EV710[MFEV710_SDS]




